本文介绍了多方 ECDSA 门限签名方案 DKLS19,该方案由 Jack Doerner 等人在 2019 年提出。文章详细阐述了 DKLS19 的主要思路,包括 inverse-sampling 协议、一致性检查和签名生成,并重点介绍了基于 Oblivious Transfer 实现的 MtA 协议,及其 Light Computation, Heavy Bandwidth 的特点。
Created: <2023-07-01 Sat>
Last updated: <2023-07-10 Mon>
2019 年,Jack Doerner, Yashvanth Kondi, Eysa Lee, and Abhi Shelat 在论文 Threshold ECDSA from ECDSA Assumptions: The Multiparty Case 中提出的多方 ECDSA 门限签名方案,简称 DKLS19 协议,本文将讨论它。
注 1:还有一个名为 DKLS18 的协议,它是 2018 年同样这 4 个作者在论文 Secure Two-party Threshold ECDSA from ECDSA Assumptions 中提出的协议,它是一个两方的 ECDSA 门限签名方案。
注 2:还有一个名为 DKLS23 的协议,它是 2023 年同样这 4 个作者在论文 Threshold ECDSA in Three Rounds 中提出的协议。
设 m 是待签名的消息, H(m) 是待签名消息的哈希, sk 是私钥, k 是由签名者随机生成的一次一用的随机数。
签名数据可记为 (sig,rx) ,其中 rx 是点 R=k⋅G 的 x 轴坐标, sig 由下式确定 sig≜H(m)+sk⋅rxk
假设参与者集合为 P ,其中 |P|=t ,也就是说一共有 t 个参与者进行 ECDSA 门限签名。
DKLS19 主要思路:
Multiplication and Inversion. t 个参与者执行一个 “inverse-sampling” 协议( FInvn,t ),在协议结束后,每个参与者可得到 k 的 additive sharing(即每个参与者可得到 ki ,会满足 ∑i∈Pki=k ),得到 1/k 的 additive sharing(即每个参与者可得到 vi ,会满足 ∑i∈Pvi=1/k ),以及得到 R=k⋅G 。然后每个参与者由 sk 的 additive sharing 和 1/k 的 additive sharing 进行一个类似于 GMW 乘法的协议可得到 sk∗(1/k) 的 additive sharing(即每个参与者自己手头有 ski 和 vi ,经过协议可以得到 wi ,会满足 ∑i∈Pwi=sk/k )。
Consistency Check. 为了确保参与者忠实地执行上一步的协议,我们要进行一些一致性的检查。如果有参与者违法协议,则可以被发现。
Signing. 如果 Consistency Check 阶段没有发现问题,则我们可以说 P 中每个参与者得到的 vi,wi,R 确实会满足: ∑i∈Pvi=1/k,∑i∈Pwi=sk/k,R=k⋅G 每个参与者进行本地计算 sigi≜vi⋅H(m)+wi⋅rx 然后把它广播给其它参与者,这样每个参与者按下面式子可以得到最终的签名 sig≜∑i∈Psigi
我们容易验证这种方式得到的 sig 和标准 ECDSA 的 sig 是一样的,验证如下: ∑i∈Psigi=∑i∈P(vi⋅H(m)+wi⋅rx)=(∑i∈Pvi)⋅H(m)+(∑i∈Pwi)⋅rx=1k⋅H(m)+skk⋅rx
如何让各个参与者得到 vi 和 wi 是求解 sig 的难点。
原论文中对 DKLS19 协议的描述如图 1 所示。

Figure 1: DKLS19
在 DKLS19 协议的 Multiplication and Inversion 阶段中,在两个重要的子协议 FInvn,t 和 F2PMull ,本文不打算详细介绍它们,感兴趣的读者可阅读原论文。本文后面会介绍一个更基础的协议 MtA,它是子协议 FInvn,t 和 F2PMull 的基础。
Alice 手头有个秘密 a ,Bob 手头有个秘密 b ,如何设计一个协议让 Alice 得到另一个值 x ,Bob 得到另一个值 y ,且满足 x+y=ab 。这个协议可以称为 Multiplicative-to-Additive(简称 MtA),它是 ECDSA 门限签名的一个关键子协议,在著名的 ECDSA 门限签名协议 GG18 协议中,是使用 Paillier 同态加密来实现 MtA 的。
在 DKLS19 中,并没有使用 Paillier 同态加密来实现 MtA,而是使用 Oblivious Transfer(OT)来实现 MtA,其思想来源于 1999 年 Niv Gilboa 发表的论文 Two Party RSA Key Generation(Gil99)。
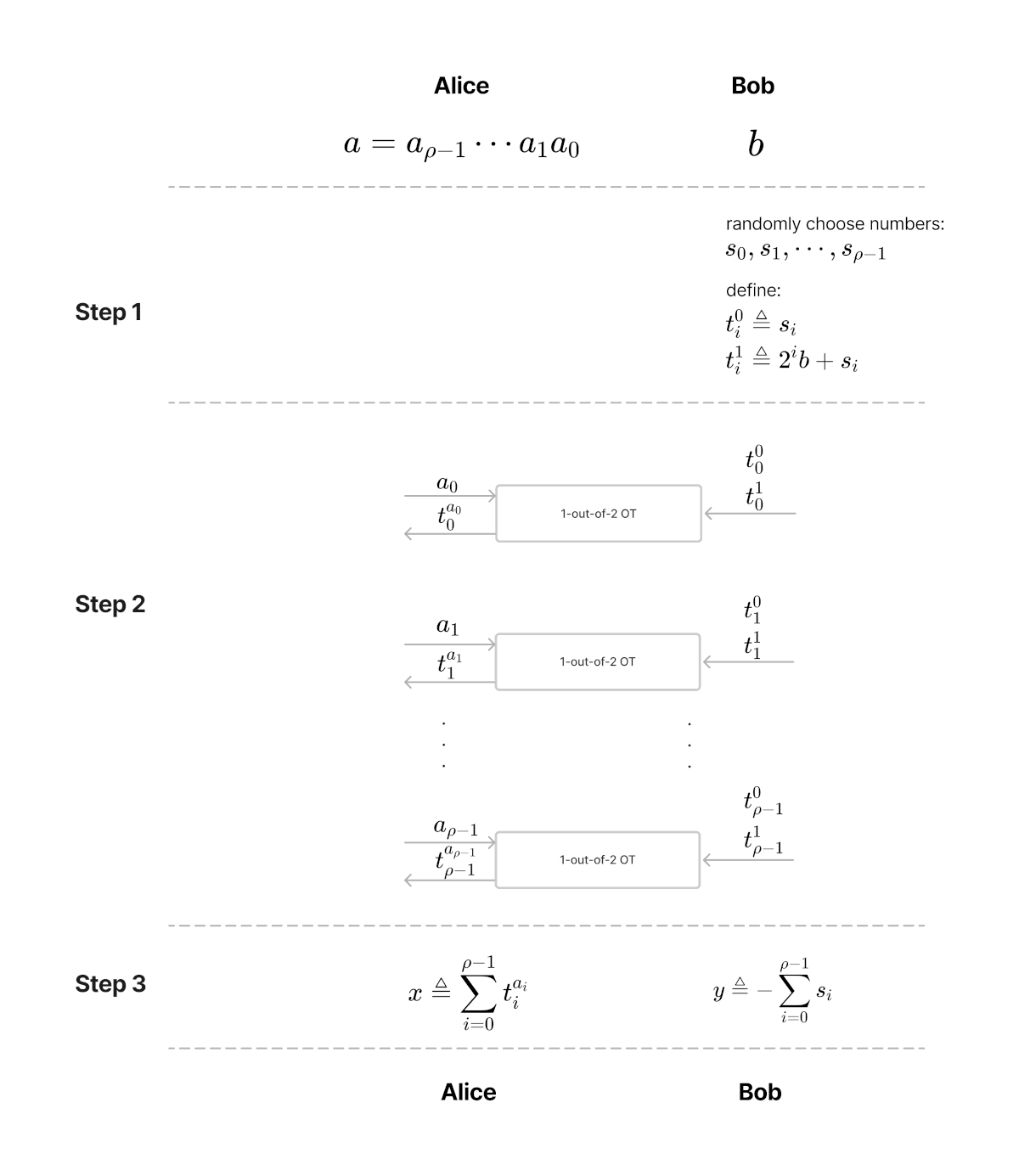
假设 a 和 b 分别是 Alice 和 Bob 手头的秘密值,它们的比特位长度是 ρ ,记 a 可以表示为二进制数 aρ−1,⋯,a1,a0 ,也就是说 a 可以表示为 a=∑i=0ρ−1ai⋅2i 。
Gilboa 设计了下面协议可以让 Alice 得到 x ,Bob 得到 y ,且满足关系 x+y=ab :
Bob 随机选择 ρ 个数 s0,s1,⋯,sρ−1 ,Bob 定义 2ρ 个数 ti0≜si,ti1≜2ib+si ,其中 0≤i≤ρ−1 ;
Alice 和 Bob 执行 ρ 个 1-out-of-2 OT 协议。在第 i 个 1-out-of-2 OT 协议中,Bob 发送两个数 ti0,ti1 ,而 Alice 根据 ai 的值,从中选择 tiai ;
Alice 设置 x≜∑i=0ρ−1tiai ,Bob 设置 y≜−∑i=0ρ−1si 。
上面描述的协议可以表示为图 2 所示。

Figure 2: Gil99 (OT-based MtA)
下面来证明一下,为什么 x+y=ab 会成立。
x+y=∑i=0ρ−1tiai−∑i=0ρ−1si≡∑i=0ρ−1(ai⋅2ib+si)−∑i=0ρ−1si≡b∑i=0ρ−1(ai⋅2i)≡ba
在上面证明过程中利用了恒等式 tiai=ai⋅2ib+si ,由于 ai 是 a 的一个二进制位,我们分别设 ai=0 和 ai=1 两种情况,每种情况下容易验证这个恒等式成立。
基于 Oblivious Transfer 的 MtA 协议有个特点:Light Computation, Heavy Bandwidth。
之所以说 Light Computation,是由于基于 Oblivious Transfer 实现的 MtA 协议的计算量要小于其它方案(如基于 Paillier 同态加密)实现的 MtA;之所以说 Heavy Bandwidth,是由于会进行多个 Oblivious Transfer 过程,需要交换的数据比较多。
- 本文转载自: aandds.com/blog/multipar... , 如有侵权请联系管理员删除。
如果觉得我的文章对您有用,请随意打赏。你的支持将鼓励我继续创作!